Normalmente as válvulas globo são empregadas onde é necessário realizar operações frequentes de abertura e fechamento, como também controles de vazão na graduação. Caracterizadas pela forma globosa do corpo, são válvulas manuais mais apropriadas e muito utilizadas no controle do fluxo quando é necessária a regulagem da vazão ou da pressão de um fluido. Utilizadas em vapor, gases, ar, petróleo, água e gás natural em condição de alta ou baixa pressão.
Permitem um controle mais eficiente do fluido. Sofrem desgastes mínimos com a erosão, tanto na sede como no obturador. Elas oferecem elevada perda de carga devido à mudança brusca de direção imposta ao fluido.
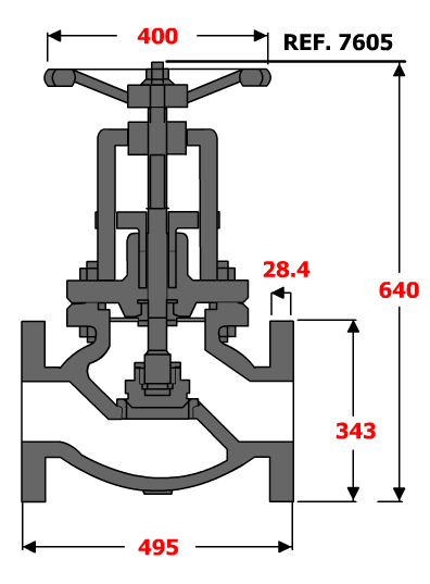
Clique na polegada desejada para obter a dimensão correspondente:
1.1/2" 2" 2.1/2" 3" 4" 5" 6" 8" 10" 12"
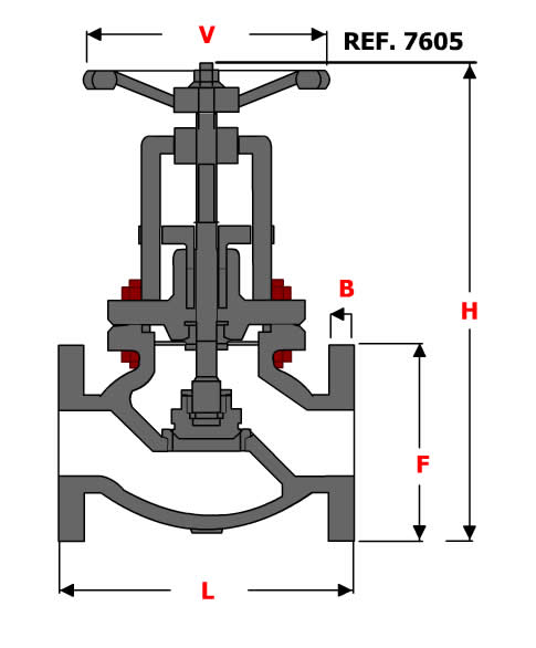
Clique nas linhas abaixo para visualizar os locais das peças referentes:
1 - Corpo 2 - Sede 3 - Contra Sede 4 - Porca Contra Sede 5 - Junta 6 - Parafuso sext.c/porca 7 - Gaxeta 8 - Preme Gaxeta 9 - Castelo 10 - Haste 11 - Volante 12 - Paraf.sext.c/arroela
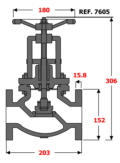
Clique na polegada desejada para obter a dimensão correspondente:
1.1/2" 2" 2.1/2" 3" 4" 5" 6" 8" 10" 12"
Clique nas linhas abaixo para visualizar os locais das peças referentes:
1 - Corpo 2 - Sede 3 - Contra Sede 4 - Porca de contra sede 5 - Junta 6 - Parafuso sext.c/porca 7 - Gaxeta 8 - Prema gaxeta 9 - Castelo 10 - Haste 11 - Volante 12 - Paraf.sext.c/arroela
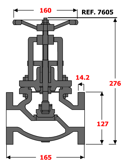
Clique na polegada desejada para obter a dimensão correspondente:
1.1/2" 2" 2.1/2" 3" 4" 5" 6" 8" 10" 12"
Clique nas linhas abaixo para visualizar os locais das peças referentes:
1 - Corpo 2 - Sede 3 - Contra Sede 4 - Contra Vedação 5 - Junta 6 - Castelo 7 - Estojo c/ Porca 8 - Gaxeta 9 - Estojo c/ Porca 10 - Preme Gaxeta 11 - Haste 12 - Bucha de Movimento 13 - Volante
Clique na polegada desejada para obter a dimensão correspondente:
1.1/2" 2" 2.1/2" 3" 4" 5" 6" 8" 10" 12"
Clique nas linhas abaixo para visualizar os locais das peças referentes:
1 - Corpo 2 - Sede 3 - Contra Sede 4 - Contra Vedação 5 - Junta 6 - Castelo 7 - Estojo c/ Porca 8 - Gaxeta 9 - Estojo c/ Porca 10 - Preme Gaxeta 11 - Haste 12 - Bucha de Movimento 13 - Volante
Clique na polegada desejada para obter a dimensão correspondente:
1.1/2" 2" 2.1/2" 3" 4" 5" 6" 8" 10" 12"
Clique nas linhas abaixo para visualizar os locais das peças referentes:
1 - Corpo 2 - Sede 3 - Contra Sede 4 - Contra Vedação 5 - Junta 6 - Castelo 7 - Estojo c/ Porca 8 - Gaxeta 9 - Estojo c/ Porca 10 - Preme Gaxeta 11 - Haste 12 - Bucha de Movimento 13 - Volante
Clique na polegada desejada para obter a dimensão correspondente:
1.1/2" 2" 2.1/2" 3" 4" 5" 6" 8" 10" 12"
Clique nas linhas abaixo para visualizar os locais das peças referentes:
1 - Corpo 2 - Sede 3 - Contra Sede 4 - Contra Vedação 5 - Junta 6 - Castelo 7 - Estojo c/ Porca 8 - Gaxeta 9 - Estojo c/ Porca 10 - Preme Gaxeta 11 - Haste 12 - Bucha de Movimento 13 - Volante
Clique nas linhas abaixo para visualizar os locais das peças referentes:
1 - Corpo 2 - Sede 3 - Contra Sede 4 - Contra Vedação 5 - Junta 6 - Castelo 7 - Estojo c/ Porca 8 - Gaxeta 9 - Estojo c/ Porca 10 - Preme Gaxeta 11 - Haste 12 - Bucha de Movimento 13 - Volante
Clique nas linhas abaixo para visualizar os locais das peças referentes:
1 - Corpo 2 - Sede 3 - Contra Sede 4 - Contra Vedação 5 - Junta 6 - Castelo 7 - Estojo c/ Porca 8 - Gaxeta 9 - Estojo c/ Porca 10 - Preme Gaxeta 11 - Haste 12 - Bucha de Movimento 13 - Volante